在娱乐圈,艺人和经纪公司闹矛盾是常有的事,而像邓紫棋这样,三天两头轰动热搜还是少数。
图源@GEM鄧紫棋
3月7日,邓紫棋在个人微博发布声明,宣布和经纪公司蜂鸟音乐将终止合作,并指出公司存在违约行为。
随后蜂鸟方面也予以反击,指其有意独立处理音乐事业而提出无理要求,她的合约到2022才约满。
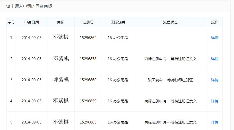
就在双方为解约各执一词时,近日事件再添新料,蜂鸟早于2014年就将“邓紫棋”注册为旗下商标,所有关于音乐作品都受注册保护,届满日期是2025年10月。
如此一来,解约后的邓紫棋还能不能是邓紫棋,也是个问题。
最近正在举办“Queen of Hearts”巡回演唱会的邓紫棋,3月7日突然在微博发布长文声明,宣布结束与经纪公司蜂鸟音乐的合作关系。
邓紫棋在微博发布的律师函声明
蜂鸟音乐的声明
长文中她指控公司违约,在未经她同意签下代言,期间她也尝试过调解沟通,最终无果。邓紫棋更形容双方走到这一步是“冰封三尺非一日之寒”。甚至调解期间经纪公司还不断公布演唱会新场次,让她非常无奈,但为不让事件牵连到粉丝和主办方,邓紫棋也表示将努力在未来2个月将完成已售票和已公布的8场演唱会。
双方解约一事尚未有明确进展,不过近日则有消息指,邓紫棋此番解约,恐遭一大“损失”。
原名邓诗颖的邓紫棋,2006年参加校园歌唱比赛,获经纪人张丹赏识,随后于2008年加入由张丹、Lupo Groinig成立的蜂鸟音乐正式出道,以“邓紫棋”之名走红。
图源@GEM鄧紫棋
但据悉,蜂鸟早在2014年9月5日将“邓紫棋”注册为旗下商标,并于2015年10月21日注册公告,所有关于音乐作品都受注册保护,届满日期是2025年10月。
天眼查中显示,蜂鸟娱乐还注册了诸多商标类别
也即是,根据公告的商标讯息显示,蜂鸟音乐拥有邓紫棋此商标及相关影音版权使用权直到2025年10月。如此看来,解约后,邓紫棋还能不能叫回邓紫棋还是未知。
天眼查中,商标“邓紫棋”在某项分类的注册情况,专用权期限至2025年。
该消息一出,微博又炸开了锅。不过大多数歌迷粉丝仍表示力挺邓紫棋,“我们喜欢的是这个人和她的才华,又不是她的名字”。
也有网友积极为邓紫棋支招,“不能叫邓紫棋的话,可以是邓紫琪、邓紫琦、邓紫崎、取同音字就好啦。”
也有支持她用回本名的,“邓诗颖也好听”。
虽然粉丝不介意,但邓紫棋一出道就用了这个艺名,唱足11年,从寂寂无名打拼到一炮而红,“邓紫棋”于她确实有着非凡的意义,改名或多或少都将影响她未来星途。
有关艺名被注册成商标的事情,邓紫棋本人尚无回应,不过其助手则表示事件交律师处理,会捍卫她应有的权利。
今日,邓紫棋前经纪人张丹也回应,“公司注册邓紫棋名字,主要原因是防止出现盗版,这次发生此事,完全事出突然、意料之外,所以我们现阶段需要咨询律师才可决定处理方法,希望外界不要作出太多揣测。”
艺名被他人注册成商标,在两年前,也有类似的例子。主持《大风车》走红“金龟子”刘纯燕,因为“金龟子”被他人注册了相关商标,2017年,她曾以“金龟子”商标侵犯自己的姓名权为由,申请宣告无效,最终为自己“正名”。
据此,针对邓紫棋本人是否有望拿回这个名字,记者今天下午也分别咨询了三位律师。
广信君达律师事务所的刘律师表示,“如果邓紫棋此前对注册上表一事不知情,现在就可以申请商标无效”,
但如果邓紫棋对此事事先知情并且同意的话,要看双方谈判,即便是谈崩了,邓紫棋也可以“以在先权利人的名义去尝试申请宣告商标无效。”
广东期待律师事务所张燕妃律师认为,从社会认知度来看,这个名字还是属于邓紫棋个人的,并不能够以商标权简单地排他使用。
另外,商标权应该主要针对商业行,邓紫棋虽然没有通过户籍等认定是改名或曾用名,但并不妨碍作为外号使用。
例如,李宁的商标不能够左右全中国人使用李宁这个名字。“姓名权的范围包括别名、笔名、曾用名在内,日后,邓紫棋依然可以用这个名字,除非合同有约定解约后不能使用此名。”
张律师分析,对于判断是否构成侵犯姓名权,要根据当事人的知名度来判定。
比如“乔丹”商标侵权案,法院认为,乔丹体育公司明知迈克尔·杰弗里·乔丹在我国具有长期、广泛的知名度,仍然使用“乔丹”申请注册争议商标,容易导致相关公众误认为标记有争议商标的商品与迈克尔·杰弗里·乔丹存在代言、许可等特定联系,损害了迈克尔·杰弗里·乔丹的在先姓名权。
此外,还需要根据公司注册的时间和当时邓紫棋是否同意注册来判断。张律师表示,如果蜂鸟音乐注册商标时间在邓梓棋成名前,那就不属于侵权,如果成名后注册但她同意了,也不属于侵犯邓紫棋的姓名权。
图源@GEM鄧紫棋
广东法制盛邦律师事务所合伙人戴小红律师表示,如果未经艺人本人同意,公司擅自把艺人的名字注册成商标,即公司不当注册商标,损害了艺人的利益。《商标法》第四十四条规定:“已经注册的商标,违反本法第十条、第十一条、第十二条规定的,或者是以欺骗手段或者其他不正当手段取得注册的,由商标局宣告该注册商标无效。”如果可以认定公司在商标注册过程中恶意注册商标,艺人可以提起侵权的诉讼。
娱乐圈不用本名的明星有很多,
不过,
下面这些名字的艺名和本名,
你能对的上吗?
吴亦凡 原名:李嘉恒
李易峰 原名:李贺
张艺兴 原名:张加帅
刘昊然 原名:刘源
任嘉伦 原名:任国超
毛不易 原名:王维家
刘亦菲 原名:安风
杨紫 原名:杨旎奥
宋祖儿 原名:孙碧涓
唐艺昕 原名:唐婷
林允 原名:费霞
春夏 原名:李俊杰
周迅 原名:周米卡
张亮 原名:张振锁
梁烈唯 原名:梁竞徽
陈柏宇 原名:陈广伟
郭晋安 原名:郭亚安
陈慧琳 原名:陈慧汶
梁咏琪 原名:梁碧姿
杨千嬅 原名:杨泽嬅
麦浚龙 原名:麦允然
侧田 原名:罗定伟
萧正楠 原名:萧锦麟
钟欣潼 原名:钟嘉励
关心妍 原名:关惠文
林峯 原名:林汇文
唐诗咏 原名:唐思盈
吴雨霏 原名:吴家颖
赵学而 原名:赵慧燕
温碧霞 原名:温碧玉
冯德伦 原名:冯进财
言承旭 原名:廖洋震
舒淇 原名:林立慧
陶喆 原名:陶绪忠
石修 原名:陈硕修
米雪 原名:严惠玲
王喜 原名:邝毅怡
陈晓东 原名:陈卓扬
郑元畅 原名:郑综腾
陈柏霖 原名:陈韦志
炎亚纶 原名:吴庚霖
周渝民 原名:周育文
吴尊 原名:吴吉尊
萧亚轩 原名:萧雅之
明道 原名:林朝章
刘德华 原名:刘福荣
洪朝丰 原名:洪乌猪
张国荣 原名:张发宗
方中信 原名:符力
秦沛 原名:姜昌年
尔冬升 原名:姜小宝
李小龙 原名:李振藩
蔡依林 原名:蔡宜凌/蔡宜翎
阿信@五月天 原名:陈信宏
信息时报记者 蔡慕嘉 古晓彤
编辑:Raven


