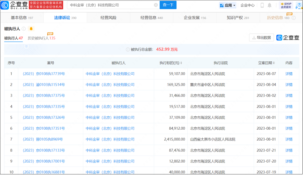
张国立摊上事了! 羊城晚报 内地男星 2023-08-12 12:26:04 448 创作不易,用心坚持,欢迎请BaGua喝几杯爱心咖啡!打赏并支持本文 打赏并删除本文 近日,备受观众喜爱的演员张国立担任监事的公司卷入了一场债务纠纷,甚至成为了“老赖”。企查查APP显示,近日,中科金审(北京)科技有限公司被北京市海淀区人民法院列为失信被执行人,涉案金额约1.4万元。此外,该公司自8月1日起连续多次被强制执行,目前累计被执行总金额约452.99万元。企查查信息显示,该公司成立于2013年1月,张国立任该公司监事职务。张国立,系中国内地男演员、导演、制片人、重庆大学美视电影学院院长、北京国立常升影视文化传播有限公司董事长。代表作品有《康熙微服私访记》《铁齿铜牙纪晓岚》《忠诚》《金婚》《顽主》《手机》《一声叹息》《建国大业》《中国1945之重庆风云》《一九四二》等。近日由张艺谋导演的首部犯罪悬疑电影《坚如磐石》宣布定档9月28日。在群像版海报中,张国立和雷佳音、于和伟、周冬雨、孙艺洲、李乃文等主演集体登场。来源 | 综合杭州交通918、极目新闻、企查查财经等编辑 | 舒舒校对 | 潘丽玲审签 | 周乐瑞更 | 多 | 新 | 闻 创作不易,用心坚持,欢迎请BaGua喝几杯爱心咖啡!打赏并支持本文 打赏并删除本文 感谢您的支持鼓励,我会继续努力的!文章地址:用户邮箱:打赏金额:USDT 请输入数字点击”去打赏“,即可进行打赏支持本文章哦 张国立 发表评论