点击「在看」,锦鲤附身!
杨子、黄圣依在综艺节目里自曝想离婚,让观众大跌眼镜。然而,当我们梳理这对夫妻多年的财富积累过程,又能发现杨子其实并没有那么“土豪”,而黄圣依也不是那么轻松的“阔太”。
作者:陈大壮
编辑:朗明
来源:财经天下WEEKLY(ID:cjtweekly)
最近娱乐圈的高热度话题,除了黄磊做饭、向佐演戏、叶珂吃蛋糕,就是黄圣依、杨子这对夫妻想离婚了。
在《再见爱人4》中,黄圣依自曝“这是我想离婚的第三年”,杨子也直言婚姻“一地鸡毛”。更令人惊讶的是,杨子在节目中表现出了令人难以忍受的“爹味”,以及对黄圣依近乎压倒性的“掌控”。
在最新一期节目里,杨子委屈地表示,自己撑起了整个家庭,与黄圣依几年没有单独吃过一次饭。在“520”纪念日,他安排了一次与黄圣依和儿子的烛光晚餐,自己却在饭桌上做了一场直播,还跟一位“重要人物”打了两个半小时电话。
杨子对此毫无愧意。“这些黄圣依一点也不理解。我背后有谁?我背后就是悬崖,退一步就是粉身碎骨。”杨子的这番言论,让嘉宾错愕地发问,“他们很穷吗?”
时至今日,杨子、黄圣依,到底还有多少财富?两人的婚姻,真的是一出女明星嫁入豪门的剧本吗?
01
钞能力霸总,解救女明星
杨子与黄圣依的婚姻起源,还要从十年前说起。
2003年,黄圣依在上海参加《功夫》秘密选秀时,被周星驰一眼看中,成为“星女郎”,凭借电影中清纯的哑女角色一炮而红。没想到2005年,黄圣依便陷入和周星驰旗下星辉公司的解约风波中。
彼时,星辉公司和黄圣依还有8年合约尚未完成,如果黄圣依单方面提出解约,她可能要面临千万元的巨额赔偿。不仅如此,她还向媒体哭诉,称遭到了星辉公司的恐吓和威胁。这对于年仅22岁,刚步入社会的黄圣依来说,无疑是难以承受的。
恰恰在这样的人生低谷时刻,杨子出现了。他被黄圣依深深吸引,决意要帮她走出困境,于是找了顶级律师、付了天价赔偿款,化身“拯救女神于水火的霸道总裁”。
正因为这场风波,杨子这个名字也开始变得为人熟知,两人的感情也迅速升温,并在2007年秘密领证结婚,黄圣依也顺利步入豪门阔太的人生阶段。
之所以说是豪门,离不开杨子被外人所议论的身份——“身家过亿的巨力集团执行总裁”。
巨力集团是一个拥有众多业务的家族集团,身为集团的公子,杨子以霸道总裁形象,2007年为自己量身拍摄了一部自己和女神的青春情感剧《凭什么爱你》。
整个拍摄中,杨子所有办公室剧情直接取景于巨力集团,连剧中公司的名字都是“巨为集团”,跟巨力集团仅有一字之差。
当时,《南都周刊》以探班的形式,向外界揭开了巨力集团的神秘面纱。据杨子介绍,巨力集团在全国有64个生产基地,位于河北徐水的基地占地5000亩,是其中最大的一个。探班过程中,停在集团办公楼门口的超长悍马显得异常抢眼。
用杨子的话说,悍马是他托美国朋友订制的。
据悉,这辆超长悍马在全球只有3辆,全亚洲只有这一辆。车身长达10多米,轴距约8米,实际最高车速可达180公里/小时,车里配置有22个豪华座椅。超长悍马曾被杨子当作道具,出现在杨子出演的电视剧《天下第一宴》的开机仪式现场。
但超长悍马只短暂出过一阵风头,对于车子后来何去何从的疑问,杨子说,他原本的打算是将车子用于商务接待,但没想到太招摇,为避免张扬,就把它封存了。
拍戏过程中,杨子把自家房子也贡献了出来。他没透露房子的具体价值,但说到屋里的家具多由香樟木、黄梨木制作,楼梯扶手原材料则是每500年才能成材的珍贵小叶紫檀。
后来,杨子邀请李亚鹏来家中做客,以及黄圣依和儿子参加真人秀节目《妈妈是超人》时,房子的更多细节得以呈现。这是一所三层豪宅,房子里专门设有儿童游乐场、私人滑雪场,还有一个能同时坐20人的超大餐桌,连垃圾桶都是国际名牌。在黄圣依的背景中,满架爱马仕也清晰可见。
公司和房子显然还不是杨子财富的全部。杨子不止一次向外界强调自己的收藏家人设,他曾在抖音发布多个关于珠宝、文玩、茶叶的视频。
在杨子家里,收藏着从“壶艺泰斗”顾景舟手里花近亿元拍来的“松鼠葡萄”套组茶具,有“价值半个小目标”的顶级天珠,有“大明成化年间”的瓷器。
至于杨子的另外两个奢华私物——“46亿年才出一块的祖母绿戒指”和“45美元一张的名片”,在《成都商报》的一次报道中,杨子也做了解释,他说戒指“纯属戏言”,名片是由自己创意设计,瑞士军刀厂生产的,用途是为了“让用户在第一时间,用15秒甚至更短的时间永远记住我,记住中国巨力”。
总之,杂七杂八加起来,那时杨子的“钞能力”,似乎足以匹配当红女明星。
02
到底谁榜上了谁?
杨子令人艳羡的财富都是从哪里来的?
天眼查显示,目前杨子名下共关联15家企业,其中7家公司已注销,剩下存续的公司覆盖影视、软件服务、酒业、工艺品等业务,当然,其中也包括最重要的家族企业——巨力集团。
在该集团中,杨子的哥哥杨建忠是法人、董事长、总经理,姐姐杨会德和杨子本人是副董事长。
在《再见爱人4》中,杨子自称是集团的联合创始人之一。巨力集团1997年成立时,杨子22岁。从年龄上看,杨子的说法具有合理性。
巨力集团位于河北省保定市徐水科技园区,旗下有巨力索具、刘伶醉酒、影视传媒等几大产业,巨力索具是集团的核心主体,2010年1月在深交所上市。
巨力索具上市以来股价走势图
索具,是指为了实现物体挪移,系结在起重机械与被起重物体之间的受力工具,或是稳固空间结构的受力构件。在巨力索具的招股书中,称国内工业企业100强当中,有80%为自家公司客户,且客户遍及钢铁、电力、石化、设备制造、海洋、船舶、军工等各个领域,比如河北钢铁集团、宝钢、首钢、鞍钢、山东电力、辽宁电力、大庆油田、中国一重、中国二重等。
此外,公司的产品在多项国家重点工程中得到应用,比如鸟巢、三峡、大亚湾核电站、首都机场、浦东机场、白云机场、神州航天、嫦娥探月工程等,一套索具吊装的物品,可能价值数千万元甚至数亿元。
也正是这样异常重要的“索具”,成了杨子和兄弟姐妹财富的来源。
巨力索具上市时,实际控制人为杨建忠、杨建国、杨会德、杨子四人,他们四人合计直接持有巨力索具控股股东巨力集团95%的股权,并合计持有巨力索具29.14%的股权。
和众多上市公司的规定一样,他们在巨力索具的股份,自上市之日(2010年1月12日)起36个月内限制流通。不过,2013年限售期一到,杨氏兄妹们便开启了减持套现。
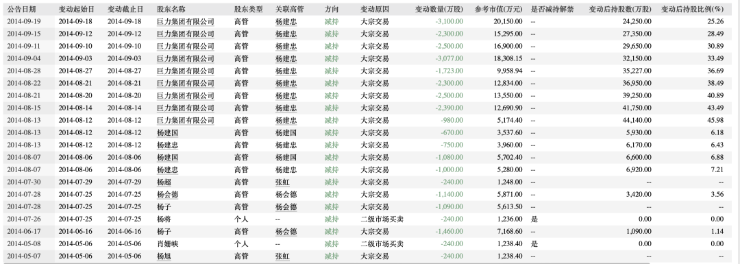
《财经天下》通过Wind统计,2013年至2017年,大股东巨力集团及杨氏家族,减持巨力索具超40次,套现金额超23亿元。杨子更是早在2014年7月,便将手里直接持有的股份卖光,7次套现总金额约1.98亿元。这还不包括之后巨力集团减持巨力索具,杨子作为巨力集团持股人所获得的间接收益。
杨氏家族部分减持巨力索具股份情况。数据来源/Wind
家族财富只是一方面,身在娱乐圈,娶得“星女郎”的杨子,在2009年成立了影视公司巨力影视传媒,目前杨子占股30%,黄圣依占股10%。公司的开山之作《白蛇传说》就由黄圣依担当女一号,还请来了李连杰为她护航,黄圣依也理所当然成为巨力影视的招牌明星。两年后,巨力影视设立了以黄圣依名字命名的巨力圣依影视传媒公司,公司注册资本2000万元人民币,杨子任总裁,黄圣依任执行总裁。
巨力影视并未向外界披露过公司经营的具体数据,而天眼查上关于公司2023年报的信息中,显示公司缴纳社保员工数为24人。
但黄圣依在巨力影视,比起老板娘的身份,更多还是一种资源。
2020年,记者易立竞对黄圣依的采访中,黄圣依承认,在巨力影视工作的日子里,“主要是以我赚钱”。她曾一年内狂拍六部戏,累到直哭,请假三天休息都被拒绝。另据媒体报道,为了将更多精力投入于巨力影视的影视剧制作,她甚至在2013年婉拒了好莱坞某知名制片公司的拍戏邀请。杨子这样总结:“黄圣依是这几年赚了最多钱的女演员。”
这种安排不禁令网友感慨,豪门贵妇和明星老公,到底是谁傍上了谁?
03
有计划的离婚剧本?
《再见爱人4》中,杨子、黄圣依夫妇称,他们的婚姻中有许多复杂的因素,比如经济上的绑定和两个儿子的存在,使得离婚变得异常困难。这引发了网友的好奇,结婚共同生活这么多年,这两人到底有多少财产,经济上又到底有多少利益纠葛?
回到杨子家族的重中之重——巨力索具。在杨子套现的过程中,巨力索具的财务数据每况愈下。2010年上市当年,巨力索具的净利润为1.9亿元,而巨力索具2023年度财报显示,公司净亏损871万元。截至2024年10月25日,公司总市值为32亿元,较上市当天收盘的103.92亿元亦大幅缩水。
目前,杨子间接持有巨力索具3.4%的股份(其对巨力集团持股17%,巨力集团对巨力索具持股20.03%),持股市值约1亿元。
考虑到杨子早在2014年,就将巨力索具的财富套现了一大部分,所以巨力索具下滑的业绩对他影响不大,但股民却不满意了。
在互动平台上,经常出现类似这样的提问,“作为具有高附加值的高端装备企业,为什么公司业绩总在亏损边缘徘徊?股价更是长期低于发行价!公司将采取什么措施提升业绩与股价?”“公司近些年股价走势很差,有没有采取措施进行市值管理?”
对此,巨力索具方面的回答是,“股票价格走势属二级市场行为”“为提升公司整体盈利能力,公司一是加大新产品新技术的研发投入,二是推进子公司项目建设并尽快实现达产。”
巨力索具股价节节走低,而巨力集团另一块白酒业务——“刘伶醉”,也不给力。刘伶醉是巨力集团2010年收购的河北省老牌名酒品牌。收购时,刘伶醉正面临经营不善、白酒竞争激烈、市占率越来越低的不利局面。
巨力集团的到来,让业界一度对刘伶醉抱以很大期许。巨力集团的确也曾大举为刘伶醉造势,包括让黄圣依亲自代言,与周润发、甄子丹等巨星开展影视剧营销,进军省外渠道等,但无奈,刘伶醉似乎并未成为杨氏家族财富的奶牛。
巨力集团收购之后,刘伶醉曾在2013年迎来业绩最高峰,当年销售额达4.77亿元,但2019年销售额只剩不到一半。后续未见有关于刘伶醉销售额的公开数据,不知巨力集团高管在收购之初定下的“2030年刘伶醉20亿年销售收入”的目标,要如何实现?
目前,巨力集团仍是刘伶醉第一大股东,持股70%,杨子直接持有刘伶醉5%的股份。刘伶醉官网显示,杨建忠的女儿杨帅,以总裁的身份主管刘伶醉酒业。
再看黄圣依,天眼查显示,其关联的8家公司中,5家已注销,存续的3家分别为巨力影视、上海四海天地文化和东阳欣悦影视。其中巨力影视、上海四海天地文化两家公司,由杨子和黄圣依共同持股。之前由杨子开设的公司“巨力圣依影视传媒”,已于今年4月进行了简易注销。3家存续的公司均非上市公司,经营情况不得而知。
巨力影视曾经的主力输出,大部分靠黄圣依,出品拍摄的《白蛇传说》《水浒》《第22条婚规》《我在路上最爱你》均未曾大火。猫眼显示,开山之作《白蛇传说》总票房1.78亿元,豆瓣评分4.8分。而上海四海天地文化主营范围包含文玩、金银饰品等。
都说明星的归宿是直播带货,黄圣依、杨子这对夫妇也未能免俗。
最初,杨子和黄圣依与快手合作。2021年6月1日,两人合体开启连续16小时的直播。最终整场直播累计支付金额破5000万元,卖货件数超25万,直播间观看人数累计4924万人,一度登上当天快手实时卖货榜第一名。
后来,杨子和黄圣依签约了和贾乃亮同一家的MCN机构遥望科技。有着明星、豪门身份加持,2022年4月9日,抖音主播“杨子”以2953.0万元的销售额,位居带货主播榜日榜第一。2022年8月8日,抖音“黄圣依”直播间以6353万元的销售额,位居带货主播榜日榜第一。
然而,就在2024年初,夫妻带货“出事”了。1月16日,杨子、黄圣依夫妇到抖音达人@表哥(覃进展)的直播间带货。有人代表60余名商家报警称,他们支付了3000多万元的直播服务费,但销售额没能达到合同规定的最低金额。更有某腊肉品牌的负责人指出,她为直播准备了价值170万元的腊肉产品,结果只卖出去一单,且产品没能与杨子、黄圣依两人同框。
争议发生后,黄圣依、杨子、覃进展均发声明表示自己并不知情且无责,事件陷入罗生门。杨子、黄圣依夫妇在抖音的直播事业就此慢慢偃旗息鼓。《财经天下》查询新抖平台发现,两人最后一次在抖音的直播时间分别为2024年5月20日和2024年5月21日,MCN机构均显示为“暂未签约”。
除上市公司套现是杨子的“家事”外,从拍电影、卖酒,到直播带货,杨子、黄圣依所做的生意都有不同程度的捆绑交叉。只是,一个个产业都落得个“雷声大,雨点小”的结果。从这个角度看,二人上综艺自曝离婚意向,也有炮制新流量剧本、开启新赚钱赛道的可能。
点击「在看」,锦鲤附身!
- END -


