◆本信息图文及视频版权归原作者所有,如有侵权请联系我们,以便发放稿费
赵薇又摊上事了!
某眼查信息显示
4月11日
赵薇名下又有股权遭到冻结
金额为500万元人民币
冻结期限至2027年4月10日
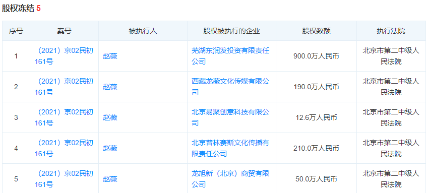
事实上,早在2021年4月,赵薇名下多个所持股权就陆续被冻结,冻结股权标的企业涉及芜湖东润发投资有限责任公司等,合计金额超过千万元,冻结期限至2024年4月末。
近些年,赵薇的商业版图不断收缩。某眼查信息显示,早年,赵薇曾担任17家公司的股东,涉及合宝文娱集团有限公司、芜湖东润发投资有限责任公司、北京普林赛斯文化传播有限责任公司等,遍布影视、文娱、投资、科技、房地产等行业。
目前,赵薇已经从上海云锋新创股权投资中心(有限合伙)等4家企业退股,其余担任股东的公司中,也有部分公司已被注销或吊销。而由赵薇担任公司法人的三家公司中,两家也已被注销或吊销。
早在2018年,赵薇还曾接到证监会罚单。当年4月11日,证监会发布了《行政处罚决定书》及《市场禁入决定书》,对万家文化、龙薇传媒责令改正,给予警告,并分别处以60万元罚款;对孔德永、黄有龙、赵薇、赵政给予警告,并分别处以30万元罚款,对黄有龙、赵薇、孔德永分别采取5年证券市场禁入措施。
编辑 | 石晶 袁晓蓓 李雨欣
初审 | 谢璨 王丽芳
复审 | 汤丽


