图片来源:图虫创意
5月涉非法集资大案有点多。
5月7日,位于北京朝阳区凯富大厦三层的P2P平台中融民信当晚被查封,整个团队人员全被三里屯警方带走调查。同天,2010年成立的P2P平台南京易乾宁金融信息服务有限公司因非法集资高达185亿元被法院开庭审理。
5月8日,广东云联惠网络科技有限公司因涉嫌传销罪、多名犯罪嫌疑人因以“消费全返”为由,采取拉人头、交纳会费等方式敛财被警方抓获。
5月7日晚,网上有消息称,北京P2P网贷平台中融民信全体人员被警方带走调查。券商中国记者5月8日来到位于凯富大厦三层的中融民信北京总部。仅剩三位执勤人员在看看守,公司大门已被查封,并留下报警电话。
记者询问进展情况,执勤人员表示公司人都被抓了,直接拨打电话报案。“5月7日晚上公司全部人员都被带走了,很多像你一样的投资人来问,有几个被骗了三四百万,你说这放进银行也比放这里好。”其中一位执勤人员说。
事实上,有媒体曾有报道表示这家公司早就在今年4月就疑似暴雷。据悉,中融民信线下门店对不特定人群开展线下理财业务,并通过POS机刷卡的方式吸收资金,疑似非法集资。记者向警方致电询问案情进展,对方表示案件仍在调查,暂时不便透露。
值得注意的是,记者也在网上发现,众多投资人已在今年4月开始到北京总部“讨债”,并自建微信群准备维权。此外,投资电话投诉、网上贴吧曝出相关的兑付困难现象,在民信贷官方论坛,众多投资人发帖质问为什么还没有兑付等举报。
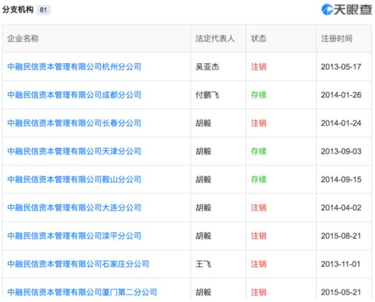
据天眼查显示,2017年11月2日,中融民信曾因公示企业信息隐瞒真实情况、弄虚作假的原因被北京市工商管理局朝阳分局列入经营异常名录。该公司有81家分支机构,众多分公司已处于注销状态。
此外,公开数据显示,中融民信旗下品牌还包括两家网贷平台,分别是民信贷与Me金融,存款银行为江西银行。
其中Me金融于2016年2月上线,在2017年7月停止发标。截至2017年6月1日,Me金融累计成交额约为10.5亿元,借贷余额3.2万元,总借款人数4736人,累计交易笔数1.8万笔。
记者注意到,线上平台“民信贷”平台运营主体中融民信资本管理有限公司经营线下理财业务。截至目前,累计交易金额达到68.3亿元,累计出借人数量达到34万人,累计交易笔数108万笔。截至昨日晚,民信贷官网仍有标的可以抢投。
有业内人士表示,中融民信线下吸储的方式很有问题,线下吸收公众存款的平台风险都比较高,资金严重缺乏监管,投资人投资的钱流向不明,自融现象极其严重。例如近期刚刚暴雷的百亿平台“善林金融”就是典型的线下起家平台,投资需谨慎。
据网贷之家数据显示,截至2018年4月底,问题平台历史累计涉及的投资人数约为65.2万人,占总投资人数的3.8%,涉及贷款余额约为382亿元,占2018年4月底行业贷款余额的比例约为2.9%。4月以线下理财业务为主的善林金融被经侦介入后,相关平台受到影响。
此外,4月共有14家问题平台,29家停业平台。其中,停业类型占比最多,为67.44%。提现困难类型占比为18.60%。本月经侦介入类型占比大幅度上升,占比为13.96%。
然而大案不止一个。据南京市中级人民法院5月7日通报,薛秀丽集资诈骗案在南京市中级人民法院在第二法庭公开开庭审理,这起案件涉及规模高达185亿元。
公开资料显示,南京易乾宁金融信息服务有限公司(简称“易乾财富”) 于2010年成立,现由中国易乾(香港)集团有限公司投资控股,总部位于江苏南京。是一家为小微企业筹款的P2P公司。 值得注意的是,“易乾宁”公司集资金额特别巨大,并将大量资金转入关联公司和公司实际控制人、高管及其亲属个人账户用于自我经营、转贷获利和肆意挥霍。
据检方指控,2013年6月、7月,被告人薛秀丽经与刘丹、费翔商议成立南京易乾宁公司、江苏易乾宁公司后,雇佣他人向社会不特定公众以发放宣传单、借助媒体等方式进行虚假宣传,采用重复配置转让债权列表等欺骗方式,向社会不特定公众非法集资,并不断在全国各地开设分支机构扩大集资规模,至2016年4月共向9.5万人非法吸收资金共计人民币约185亿元。集资后,大部分资金用于兑付前期集资款利息,支付公司运营成本,个人使用等。
除了P2P网贷,所谓的“网络科技”平台也不消停,打着“科技”幌子干着“传销”的勾当。5月8日,广东省公安厅部署发布微博称成功摧毁“云联惠网络科技公司“特大网络传销犯罪团伙,黄某等多名主要犯罪嫌疑人在行动中落网。
据悉,该团伙于2014年成立广东云联惠网络科技有限公司,并依托该公司“云联商城”,以“消费全返”为由,采取拉人头、交纳会费、积分返利等方式引诱人员加入,骗取财物,严重扰乱经济社会秩序,涉嫌组织、领导传销活动犯罪。
事实上,这家公司有问题并不是无迹可寻。云联惠早就于2016年起因经查实未在登记住所从事经营活动,广告违法行为等原因被广州工商管理局多次注意。据天眼查显示,该公司除存在39条自身风险,其子公司与投资公司也均经查实未在登记住所从事经营活动,无法取得联系出现12条风险。
广州警方提醒广大群众,要切实增强防范、抵制传销的意识,不要受所谓高额回报诱惑而误入传销歧途。
百万用户都在看
又见恒大出重金挖人!这次挖的是来自四大行的投行重磅人物,薪酬或比任泽平1500万还要高
一款券商私募FOF十分钟销售过亿?大券商纷纷发力,原来产品有三大优势
华泰证券研究所所长陆挺转投野村证券,野村正在中国谋更大棋局!接任陆挺的竟是经纪业务大咖
券商中国是证券市场权威媒体《证券时报》旗下新媒体,券商中国对该平台所刊载的原创内容享有著作权,未经授权禁止转载,否则将追究相应法律责任。
有一种美好习惯,叫做阅后点赞


